-
Тепловое оборудование
-
Пароконвектоматы
-
Плиты
-
Дегидраторы (сушилки)
-
Грили жаровни / жарочные поверхности
-
Сковороды опрокидываемые
-
Варочные котлы
-
Фритюрницы
-
Варочные аппараты / Макароноварки
-
Мармиты, подогреватели блюд
-
Шкафы жарочные
-
Шкафы пекарские подовые
-
Шкафы расстоечные
-
Печи для пиццы
-
Печи конвейерные
-
Печи микроволновые
-
Грили-мангалы решетчатые (Char-Broil)
-
Грили Саламандра
-
Грили для кур
-
Грили прижимные (Панини)
-
Грили вертикальные (Шаурма)
-
Аппараты для хот-догов
-
Блинное оборудование
-
Кипятильники
-
Диспенсеры горячих напитков
-
Вафельницы
-
Тостеры
-
Коптильни
-
Аппараты пончиковые
-
Попкорн
-
Сахарная вата
-
Рисоварки
-
Тепловые витрины
-
Варочные аппараты Sous-Vide
-
Чебуречницы
-
Печи конвекционные
-
Горячий шоколад и фонтаны
-
Печи ротационные
-
Печи пекарские модульные
-
Тепловые столы
-
Пароварки
-
Аппараты для плавки шоколада
-
Грили галечные
-
- Холодильное оборудование
-
Электромеханическое оборудование
-
Овощерезки и протирки
-
Куттеры и бликсеры
-
Ручные прессы для котлет
-
Кухонные процессоры
-
Миксеры и блендеры погружные
-
Мясорубки
-
Миксеры планетарные
-
Слайсеры
-
Соковыжималки
-
Блендеры
-
Тестораскатки и прессы
-
Тестомесы
-
Овощечистки
-
Измельчители льда
-
Миксеры для молочных коктейлей
-
Хлеборезки
-
Тестозакатывающие машины
-
Наполнители колбас
-
Рыбочистки
-
Измельчители сыра
-
Фаршемешалки
-
Овощемойки
-
Панировочное оборудование
-
Машины глазировочные
-
Тестоделители
-
Измельчители орехов
-
Аппараты котлетные
- Гомогенизаторы
-
Аппараты пельменные
-
Мясорыхлители
-
Массажеры для мяса, маринаторы
-
Пилы для мяса и костей
-
Измельчители специй
- Дозатор-смесители
- Мукопросеиватели
-
Экструдеры для макарон
-
- Посудомоечное оборудование
- Линии раздачи и салат бары
- Кофейное оборудование
-
Нейтральное оборудование
-
Столы кухонные
-
Ванны моечные
-
Рукомойники
-
Вытяжные зонты универсальные
-
Стеллажи
-
Полки
-
Тележки
-
Шкафы
-
Барные модули
-
Подставки для пароконвектоматов
-
Вытяжные зонты для пароконвектоматов и печей
-
Комплектующие для нейтрального оборудования
-
Подтоварники
-
Колоды для рубки
-
Вешала
-
Витрины нейтральные
- Модульные подставки и нейтральные вставки
-
Подставки для плит и тепловых линий
-
-
Инвентарь
-
Кухонный инвентарь
- Гастроемкости и крышки
- Противни
- Решетки
- Кастрюли, сотейники и крышки
- Горелки кулинарные
- Ведра и тазы
- Заточка ножей
- Ножи и ножницы
- Щетки и скребки
- Формы
- Вертелы и шампуры
- Доски разделочные
- Дозаторы
- Емкости для специй
- Лопатки и щипцы
- Сифоны и аксессуары
- Сетки и противни для пиццы
- Совки для картофеля фри
- Емкости для соусов
- Открывалки для банок
- Термосы
- Посуда медная
- Защита
- Контейнеры и лотки
- Половники
- Сковороды
- Овоскопы для яиц
- Терки
- Дуршлаги и миски
- Прочее
- Держатели для ножей
- Окуриватели кулинарные
- Шумовки
- Ложки для мороженого
- Ложки поварские
-
Барный инвентарь
-
Пекарский и кондитерский инвентарь
- Одноразовая посуда
-
- Измерительное оборудование
-
Санитария и гигиена
-
Стерилизаторы ножей
-
Стерилизаторы посуды
-
Дезинфекторы для рук
-
Дезинфекторы одежды и обуви
-
Облучатели и рециркуляторы
-
Санпропускники
-
Профессиональная химия
-
Ловушки для насекомых
-
Контейнеры для мусора
-
Сушилки для рук
-
Водоумягчители и фильтры
-
Сантехника
-
Измельчители отходов
-
Жироуловители
-
Уборочный инвентарь
-
Перчатки стерильные
-
Люминометры
-
Напольные покрытия
-
Полотенца
-
Аппараты для чистки обуви
-
Уличные обогреватели
-
- Упаковочное оборудование
- Ингредиенты
- Прачечное оборудование
- Торговое оборудование
- Обслуживание банкетов
- Для медицинских учреждений
- Библиотека ресторатора
-
Запчасти
- Abat
- Airhot
- Embraco
- Grill Master
- Apach
- Bear Varimixer
- Weiguang
- Coffee Queen
- YZF
- Comenda
- Convito
- Dihr
- Elco
- Electrolux
- Elframo
- Fimar
- Flott
- Gam
- Afinox
- Garland
- Gastrorag
- Gottak
-
Hallde
- Coldline
- Brema
- Hamilton Beach
- Henkelman
- Crazy Pan
- Hicold
- COOLEQ
- Holman
- Hurakan
- Elettrobar
- Convotherm
- Itpizza
- Derby
- Kromo
- Fama
- KT (Koneteollisuus Oy)
- Lincoln
- Metos
- MKN
- Orved
- Polair
- Rada
- Rational
-
Robot Coupe
- Roller Grill
- Sirman
- Smeg
- Starfood
- Starmix
- Tecnoinox
- Indokor
- Unox
- Hobart
- Vema
- Kogast / Kovinastroj
- Wells
- Атлант
- Разное
- Торгмаш (Барановичи)
- KBS
- Торгмаш (Гродно)
- Isa
- Silanos
- Modular
- Kayman
- Jau
- RGV
- Liebherr
- Lavezzini
- Scotsman
- Tefcold
- Lainox
- Sagi
- Tatra
- Sigma
- Tecnosteel
- Winterhalter
- Tecnoeka
- Zanolli
- Компрессоры
- Контроллеры
- Аксессуары для оборудования
-
Посуда и столовые приборы
- Посуда пластиковая
-
Посуда керамическая
-
Посуда из валлийского сланца
-
Посуда фарфоровая
-
Блюда и подносы для подачи, корзины для хлеба
-
Жаропрочный фарфор
-
Посуда из стали, меди и алюминия
-
Заварочные чайники
-
Барное стекло и хрусталь
-
Стеклянная посуда
-
Столовые приборы
-
Ведра и подставки
-
Доски для подачи
-
Емкости и мельницы для специй
-
Подносы и станции буфетные
-
Посуда из дерева
-
Емкости с охлаждающим элементом
-
Подносы официантские
Будьте в курсе!
Узнавайте обо всем первым
Новости
Все новости
26 июня 2025
Сервисный тренинг Winterhalter
27 мая 2025
Заливные льдогенераторы Cooleq - Новинка!
24 апреля 2025
Сервисный тренинг MKN
11 апреля 2025
Новые расстойки от Unox
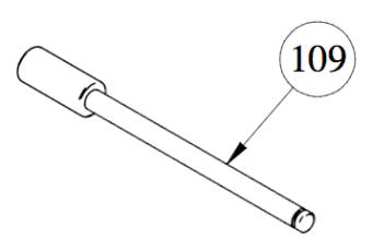
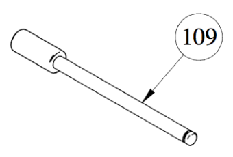
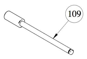
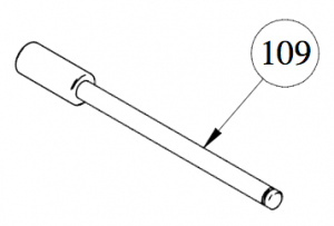
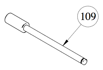
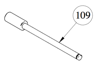
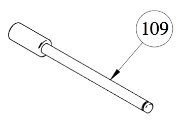
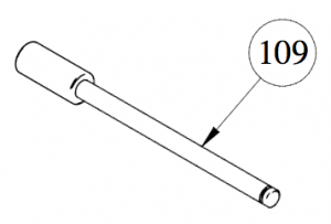
Ключ для гайки горловины Koneteollisuus Oy KT LM82A109
Ключ для гайки горловины Koneteollisuus Oy KT LM82A109
Ключ для гайки горловины Koneteollisuus Oy (KT) LM82A109
Подробнее
Ваш город:
Стоимость доставки бесплатно
Под заказ
Наши менеджеры обязательно свяжутся с вами и уточнят условия заказа
Поделиться
- Описание
- Характеристики
- Инструкции и руководства (1)
- Отзывы
- Задать вопрос
-
Ключ для гайки горловины KT LM82A109
-
Страна Финляндия В наличии Нет Модель LM82A109 Производитель Koneteollisuus Oy (KT) -
Вы можете задать любой интересующий вас вопрос по товару или работе магазина.
Наши квалифицированные специалисты обязательно вам помогут.


















































































